ข่าวจากสหรัฐอเมริกา ระบุว่า Mazda Miata สปอร์ทเปิดประทุนยอดนิยม ที่มีความคล่องตัว และราคาประหยัด ปัจจุบันวางจำหน่ายรหัสตัวถัง ND มานานพอควรแล้ว จึงอาจมีการเปิดตัวเจเนอเรชันใหม่ โดยในสิทธิบัตรเป็นรถไฟฟ้าล้วนที่ดูรูปทรงคล้ายกับ Miata
จากสิทธิบัตรสังเกตว่า ไม่ได้ใช้พแลทฟอร์มแบบสเกทบอร์ดเหมือนรถไฟฟ้าทั่วไป แต่ใช้รูปแบบชุดแบทเตอรีซ้อนเป็นโครงสันหลังของพื้นรถ วางตัวตลอดความยาวจากด้านหน้าถึงท้ายรถ ซึ่งเป็นแนวคิดเดียวกับที่ใช้ในรถ Battista/Rimac Nevera จาก Pininfarina ด้วยแหล่งจ่ายไฟแบทเตอรีลิเธียม-ไอออน หรือโซลิดสเตทก็ได้

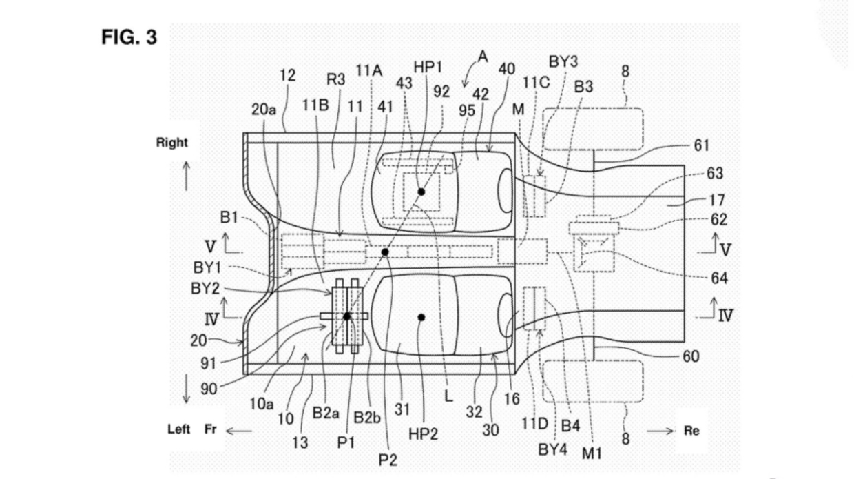
จากภาพจะเห็นตำแหน่งมอเตอร์ (M) ติดตั้งบนซับเฟรมถัดจากเบาะนั่ง อยู่ในตำแหน่งค่อนข้างต่ำ โดยต้องการให้ชุดแบทเตอรี และมอเตอร์ไฟฟ้า ทำหน้าที่กระจายน้ำหนักเพื่อความสมดุล แม้ในภาพมีการติดตั้งมอเตอร์ด้านท้ายขับเคลื่อนล้อหลัง แต่สามารถใช้ระบบขับเคลื่อนล้อหน้าได้ หากติดตั้งมอเตอร์ด้านหน้า หรือจะเป็นระบบขับเคลื่อน 4 ล้อก็ได้

การติดตั้งเซลล์แบทเตอรีหลัก มอเตอร์ไฟฟ้า และเพลาขับ ในระดับต่ำ และอยู่ในแนวกึ่งกลางตัวรถ ทำให้จุดศูนย์ถ่วงของตัวรถ อยู่ใกล้กับตำแหน่งกึ่งกลางตัวรถ ช่วยให้มีการควบคุมการขับขี่ที่มั่นคง ซึ่ง Mazda ให้ความสำคัญกับการตอบสนองการขับขี่อยู่แล้ว

ทั้งยังสังเกตว่า มีพื้นที่สำหรับติดตั้งแบทเตอรีในส่วนอื่นของตัวรถ เช่น หลังเบาะนั่ง แม้สิทธิบัตรระบุไว้ว่าเป็นสิทธิบัตรสำหรับรถไฟฟ้า โดยไม่ได้ระบุว่าเป็นแบบคูเป, แฮทช์แบค หรือซีดาน แต่จากภาพไม่มีทางเป็นอื่น นอกจากรถแบบเปิดประทุน 2 ที่นั่ง ที่ Mazda ให้ความสำคัญกับการตอบสนองการขับขี่เป็นอันดับหนึ่ง

ปกติในอุตสาหกรรมยานยนต์ บริษัทผู้ผลิตมักจะจดสิทธิบัตรเพิ่มอยู่เสมอ จึงไม่จำเป็นว่า Miata รุ่นต่อไปจะใช้ขุมพลังไฟฟ้า ซึ่งอาจเป็นไปตามแผนของบริษัทที่จะใช้เครื่องยนต์เบนซิน Skyactiv-Z แทนเครื่องยนต์ Skyactiv-G และ Skyactiv-X ซึ่งใช้กันอยู่ในปัจจุบัน

อย่างไรก็ตาม หากผลิต Miata พลังไฟฟ้าจริง อย่างน้อยสิทธิบัตรก็เป็นการยืนยันว่า รถไฟฟ้าใหม่มีรูปแบบการวางแบตเตอรีที่ทำให้เบาะนั่งติดตั้งในระดับต่ำ ซึ่งเหมาะกับรถสปอร์ทขนาดเล็ก การนั่งอยู่ระดับเดียวกับแบทเตอรี น่าจะดีกว่าการนั่งบนแบทเตอรี
Share
ส่องรถหรูราคาแพงที่สุดในโลก 2024
![]()
โดย Sunuttinee Phumbanyen
โพสต์เมื่อ 03 September 2567
มาดูความหรูหรา ความแพง ความสปอร์ต ของรถยนต์ที่แพงที่สุดในโลก 5 อันดับแรก ต้องบอกเลยว่าเป็นรถยนต์ที่ราคาแพงจนจินตนาการไม่ออกเลยล่ะ จะมีแบรนด์ไหนบ้าง? ไปชมกันค่ะ
5 อันดับ รถที่แพงที่สุดในโลก 2024
เคยเห็นรถยนต์หรูๆ แบบ Super Luxury ที่ราคาแพงจนจินตนาการไม่ออกมั้ย? ถ้าในบ้านเราหลายคนคงจะนึกถึงแบรนด์ Rolls-Royce, Aston Martin, Ferrari และ Lamborghini ที่พอจะคุ้นหน้าคุ้นตาบนท้องถนนกันบ้าง ซึ่งราคาจำหน่ายอยู่ที่ประมาณหลักสิบล้านปลายๆ เกือบจะร้อยล้านเข้าไปแล้ว ลองทายกันเล่นๆ ดูสิว่า จะมีแบรนด์ไหน รุ่นไหนที่ติด 1 ใน 5 ของรถยนต์ราคาแพงที่สุดในโลกบ้าง

อันดับที่ 5 Bugatti Divo
ราคา 6.4 ล้านดอลลาร์สหรัฐ หรือประมาณ 219,264,000 ล้านบาท (ตามอัตราแลกเปลี่ยน ณ ปัจจุบัน)
Bugatti Divo รถยนต์ไฮเปอร์คาร์ ที่ตั้งชื่อตามนักแข่งชาวฝรั่งเศส Albert Divo ซึ่งชนะการแข่งขัน Targa Florio ถึง 2 ครั้ง เมื่อปี 1928 และ 1929 โดยที่ Bugatti Divo ผลิตออกมาจำนวนจำกัด เพียงแค่ 40 คันเท่านั้น
ว่ากันว่าโครงสร้างได้รับการพัฒนาต่อยอดมาจาก Bugatti Chiron ในเรื่องของน้ำหนักและแอโรไดนามิก ออกแบบด้วยสัญลักษณ์กระจังหน้าทรงเกือกม้าขนาดใหญ่ตามแบบฉบับของ Bugatti มาพร้อมกับช่องดักอากาศที่กว้างขึ้น และติดตั้งช่องดักอากาศ NACA Duct บริเวณหลังคา เพื่อช่วยเพิ่มการไหลเวียนของอากาศไปยังห้องเครื่องยนต์ได้ดียิ่งขึ้น ส่งผลให้มีแรงกดอากาศเพิ่มขึ้น 90% ในขณะที่มีน้ำหนักเบาลง 35 กิโลกรัม ทำให้สามารถทำความเร็วในช่วงจังหวะตอนเข้าโค้ง ได้ดีกว่า Bugatti Chiron


การออกแบบยังคงเอกลักษณ์ของ Bugatti เพิ่มเติมด้วยซุ้มล้อที่กว้างขึ้น มาพร้อมกับช่องดักอากาศบริเวณหลังล้อ ติดตั้งสปอยเลอร์หลังแบบแอคทีฟ ปรับระดับอัตโนมัติ มีดิฟฟิวเซอร์ขนาดใหญ่ที่เข้ากันได้ดีกับไฟท้ายแบบ 3 มิติ ภายในยังคงละม้ายคล้ายกับ Chiron เบาะหนัง Alcantara ทรงสปอร์ตสีทูโทน ที่สอดรับกับคอนโซลกลางที่ใช้วัสดุจากคาร์บอนไฟเบอร์

ขุมพลังขับเคลื่อนจากเครื่องยนต์ W16 ขนาด 8.0 ลิตร เทอร์โบชาร์จ 4 ตัว ให้กำลังสูงสุด 1,500 แรงม้า แรงบิดสูงสุด 1,600 นิวตันเมตร ส่งกำลังผ่านเกียร์อัตโนมัติคลัตช์คู่ 7 สปีด ขับเคลื่อนสี่ล้อ สามารถทำความเร็วจาก 0-100 กม./ชม. ได้ภายในเวลา 2.4 วินาที Top Speed สูงสุดอยู่ที่ 380 กม./ชม.

อันดับที่ 4 Mercedes Maybach Exelero
ราคา 8 ล้านดอลลาร์สหรัฐ หรือประมาณ 274,080,000 ล้านบาท (ตามอัตราแลกเปลี่ยน ณ ปัจจุบัน)
Mercedes-Maybach Exelero เป็นรถหรูไฮเปอร์คาร์ที่ผลิตขึ้นเพียงคันเดียวในโลก โดยการร่วมมือของ Mercedes-Benz และ Fulda ซึ่งเป็นบริษัทยางในเครือ Goodyear จากประเทศเยอรมัน Mercedes-Maybach Exelero ใช้โครงสร้างพื้นฐานเดียวกันกับ Mercedes-Benz S 57 แต่ว่าภายในห้องโดยสารมีการปรับแต่งใหม่หมดเพื่อยกระดับภาพลักษณ์ให้ลักซ์ชูมากยิ่งขึ้น


มาดูกันที่การตกแต่งภายนอก โดดเด่นเห็นมาแต่ไกลต้องนี่เลยกระจังหน้าทรงฟันหนู แอบขัดใจตรงไฟหน้าทรงกลมเล็กน้อย เพราะว่ามันดูเชยไปนิด แต่ว่าพอมาดูด้านท้ายโอเคสวยไม่เบา ทรงคล้ายกับรถแบดแมนเลย ยิ่งได้ตราสัญลักษณ์ของ Maybach เข้าไป ทำให้ทุกอย่างดูลงตัวมากขึ้น สำหรับห้องโดยสารแน่นอนว่าเค้าใช้วัสดุที่พรีเมียมมากๆ มีการใช้ไม้แซมๆ บ้างเล็กน้อย ส่วนใหญ่จะเป็นหนังและคาร์บอนไฟเบอร์ เบาะหนังทรงสปอร์ตใช้ของ Nappa เดินด้ายแดงตัดกันกับสีดำดูดุดันอย่างลงตัว มาพร้อมกับระบบเสียงเจ้าประจำ Burmester High-End Surround Sound

ทางด้านขุมพลังการขับขี่ Mercedes-Maybach Exelero มาพร้อมกับเครื่องยนต์เบนซิน V12 ความจุ 5.9 ลิตร ทวินเทอร์โบ ที่ให้กำลังสูงสุด 690 แรงม้า แรงบิดสูงสุด 1,020 นิวตันเมตร ส่งกำลังด้วยเกียร์อัตโนมัติ 5 สปีด สามารถทำความเร็วจาก 0-100 กม./ชม. ได้ภายในเวลา 4.4 วินาที Top Speed สูงสุดอยู่ที่ 351.45 กม./ชม.

อันดับที่ 3 Bugatti Centodieci
ราคา 9 ล้านดอลลาร์สหรัฐ หรือประมาณ 308,340,000 ล้านบาท (ตามอัตราแลกเปลี่ยน ณ ปัจจุบัน)
Bugatti Centodieci เป็นรถยนต์ซูเปอร์คาร์รุ่นพิเศษ ที่ผลิตขึ้นเพื่อเฉลิมฉลองครบรอบ 110 ปี ของแบรนด์ ซึ่งผลิตจำนวนจำกัด เพียงแค่ 10 คันเท่านั้น Bugatti Centodieci ได้รับการตั้งชื่อตาม Bugatti EB110 ที่เป็นรถซูเปอร์คาร์รุ่นแรกของ Bugatti ที่ผลิตขึ้นในปี 1991 ไม่เพียงแต่เหมือนกันแค่ชื่อเท่านั้น ดีไซน์ภายนอกและภายในก็ได้แรงบันดาลใจมาจาก EB110 ด้วยเช่นเดียวกัน



ด้านการออกแบบของ Bugatti Centodieci มีรูปโฉมที่ปราดเปรียว ดุดัน ติดตั้งไฟหน้าทรงคิ้วสี่เหลี่ยม ส่วนไฟท้ายเป็นแบบ LED สามมิติ ที่ได้รับอิทธิพลมาจาก EB110 ภายในห้องโดยสารหรูหราทันสมัย ด้วยการเลือกใช้วัสดุที่ทำจากคาร์บอนไฟเบอร์และหนังแท้ ติดตั้งเบาะนั่งทรงสปอร์ตแบบโอบกระชับประดับด้วยตราสัญลักษณ์ EB ได้รับขุมพลังขับเคลื่อนจาก W16 ขนาด 8.0 ลิตร เทอร์โบชาร์จ 4 ตัว ที่ให้กำลังสูงสุด 1,600 แรงม้าและแรงบิด 1,600 นิวตันเมตร ขับเคลื่อนสี่ล้อ ทำงานควบคู่กับระบบเกียร์อัตโนมัติคลัตช์คู่ 7 สปีด สามารถทำความเร็วจาก 0-100 กม./ชม. ได้ภายในเวลา 2.4 วินาที Top Speed สูงสุดอยู่ที่ 380 กม./ชม.

อันดับที่ 2 Bugatti La Voiture Noire
ราคา 19 ล้านดอลลาร์สหรัฐ หรือประมาณ 650,940,000 ล้านบาท (ตามอัตราแลกเปลี่ยน ณ ปัจจุบัน)
Bugatti La Voiture Noire เป็นรถยนต์ไฮเปอร์คาร์อีกหนึ่งคันจากค่าย Bugatti ที่มีราคาแร๊งงงสุดๆ ซึ่งความพิเศษของคันนี้ก็คือผลิตเพียงคันเดียวในโลกเท่านั้น ใช้เวลาในการพัฒนานานกว่า 2 ปี ผลิตโดยช่างฝีมือกว่า 60 คน และใช้เวลาประกอบมากถึง 6,000 ชั่วโมง โดยที่เจ้า La Voiture Noire คันนี้ได้รับแรงบันดาลใจมาจาก Type 57 SC Atlantic รถยนต์คลาสสิคที่ผลิตขึ้นในช่วงปี 1930 ซึ่งมาในโทนสีดำสนิทแบบ Deep Black Gloss

การดีไซน์ภายนอกเน้นไปที่ความหรูหราอันทรงพลังยิ่งมองยิ่งหลงใหล ส่วนตัวเลดี้มองว่าคันนี้สวยที่สุดแล้วสำหรับแบรนด์ Bugatti ภายในห้องโดยสารหุ้มด้วยหนังเกรนสีน้ำตาล Havana Brown ตัดกับอะลูมิเนียมปัดเงาสวยสะดุดตา คอนโซลกลางมีหน้าจอสัมผัสขนาดใหญ่ และเบาะนั่งทรงสปอร์ตที่ให้กลิ่นอายแบบโมเดิร์น

ได้รับขุมพลังการขับเคลื่อนจากเครื่องยนต์ W16 เทอร์โบชาร์จ 8.0 ลิตรที่ให้กำลัง 1,500 แรงม้าและแรงบิดสูงสุด 1,600 นิวตันเมตร ขับเคลื่อนสี่ล้อ ทำงานควบคู่กับระบบเกียร์อัตโนมัติ 7 สปีด สามารถทำความเร็วจาก 0-100 กม./ชม. ได้ภายในเวลา 2.4 วินาที Top Speed สูงสุดอยู่ที่ 420 กม./ชม.

อันดับที่ 1 Rolls-Royce Boat Tail
ราคา 28 ล้านดอลลาร์สหรัฐ หรือประมาณ 959,280,000 ล้านบาท (ตามอัตราแลกเปลี่ยน ณ ปัจจุบัน)
รถที่แพงที่สุดในโลก อันดับหนึ่ง นั้นเป็นใครไปไม่ได้นอกจาก Rolls-Royce Boat Tail รถยนต์สุดหรูเหมือนคฤหาสน์เดินได้ ซึ่งคันนี้เป็นรุ่นสั่งทำพิเศษ มีเพียง 3 คันในโลกเท่านั้น ครองตำแหน่งรถยนต์ที่แพงที่สุดในโลก ณ ปัจจุบัน
โดยที่ในรุ่น Boat Tail คันนี้ได้รับแรงบันดาลใจมาจากรถยนต์เปิดประทุนยุค 1930 มีการออกแบบให้มีโครงสร้างตัวถังโค้งมนสวยงาม ติดตั้งไฟหน้า LED แบบบางเฉียบ ที่ให้อารมณ์ทั้งหรูหราและสปอร์ต และยังเพิ่มความทันสมัยด้วยไฟท้ายแบบแนวนอนอีกด้วย ภายในตกแต่งด้วยวัสดุพรีเมียมไม่ว่าจะเป็น ไม้ หนัง และคริสตัล เบาะโดยสารหุ้มด้วยหนังสีฟ้าอ่อนตัดกับแผงหน้าปัดไม้สีดำ สะท้อนให้เห็นถึงความหลงไหลในท้องทะเล



Rolls-Royce Boat Tail ขับเคลื่อนด้วยเครื่องยนต์ V12 เทอร์โบคู่ขนาด 6.75 ลิตร ให้กำลัง 563 แรงม้า แรงบิด 900 นิวตันเมตร สามารถทำความเร็วจาก 0-100 กม./ชม. ได้ภายในเวลาประมาณ 5 วินาที Top Speed สูงสุดอยู่ที่ 250 กม./ชม. ทั้งหมดนี้ไม่ว่าจะด้วยเรื่องของการตกแต่ง เทคโนโลยี รวมถึงสมรรถนะนั้น ควรค่าแก่ตำแหน่งรถยนต์ที่แพงที่สุดในโลกประจำปี 2024 ได้อย่างลงตัว
อัปเดตข่าวรถล่าสุด ดูรีวิวรถยนต์ รีวิวรถมอเตอร์ไซค์ ทุกยี่ห้อ โดยทีมงานมืออาชีพ เช็คราคา ตารางผ่อน พร้อมเกาะติดข่าวสารรถยนต์ไฟฟ้า EV ได้ที่ Autospinn.com
ซื้อขายรถมือสองออนไลน์ ต้องที่ ตลาดรถมือสอง One2car ซื้อรถง่าย ขายรถไว ทั้งรถเก๋งมือสอง รถตู้มือสอง รถกระบะมือสอง ราคาดี ฟรีดาวน์ ผ่อนถูก คุณภาพพร้อมใช้งาน
![[ครบชุด] T1006067 อแม จบแค ป](https://filmthaith.nataviguides.com/wp-content/uploads/2025/10/image-242.png)
![[ครบชุด] T1006066 คำสาปของผ วเก (ละครส น)](https://filmthaith.nataviguides.com/wp-content/uploads/2025/10/image-243.png)